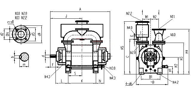
2BE1 102/103/151/152/153泵头安装尺寸

N1.0进气端法兰 N1.1连通管法兰 N2.0排气端法兰
N2.2分离器法兰 N3.0工作液接口 N4.0分离器排液口
N4.2冲洗、排液口 N4.3泄漏液排放口
2BE1 103
N2.0
2BE1 152
2BE1 153
N2.0
N2.2
N2.2